Некритическое осмысление наследия, оставленного нам «классиками» российского оружиеведения, и бесконечное повторение домыслов, порождённых нехваткой достоверной информации в прошлом, — вот настоящий парадокс, существование которого подтверждает живучая и до сих пор тревожащая умы любителей охотничьего оружия легенда о «парадоксе» Бутурлина.
Парадокс 24 кал. Бутурлина — Мацки № 257. Снимки предоставлены Национальным музеем Удмурдской Республики им. Кузебая Герда.
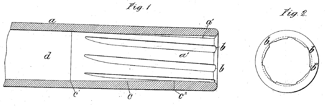
Удивительно, но в России, похоже, никто не сомневается, что именно С.А. Бутурлин — изобретатель «парадоксов» малого калибра. Это мнение основывается на собственных высказываниях Сергея Александровича в капитальном труде «Стрельба пулей. Охотничье пульное оружие», где он утверждал, что компания H&H начала выпускать ружья 20 кал. с такой сверловкой «около 1903 года», то есть позже, чем Ф.О. Мацка изготовил «парадокс» 24 калибра по его заказу. Между тем, это не так. Автором патентов Бельгии № 67870 от 13.02.1885, Англии № 7568 от 20.07.1885 и США № 329303 от 27.10.1885 года на сверловку «райфл-чок» был Георг В. Фосбери (G.V. Fosbery), тот самый отставной подполковник 4-го Бенгальского полка Индийской армии Её Величества, проживавший в Льеже, который позднее придумал автоматический револьвер. Вот как он описал своё изобретение: «…Охотничье оружие, стреляющее дробью и пулей, обычно снабжено сменными стволами, один гладкий дробовой, а другой ствол нарезной. Такое оружие не только очень дорого, но неудобно в использовании, так как стволы должны быть взаимозаменяемыми…Объектом моего изобретения является создание дробового ствола, который может успешно и эффективно использоваться в стрельбе дробью, а также с идеальной точностью стрелять конический или аналогичной пулей. Суть моего изобретения заключается в дробовом стволе с дульной конической частью, содержащей спиральные или наклонные нарезы, которые проходят вдоль и обращаются в ноль на их внутренних концах в пределах конической части перед цилиндрической частью канала ствола. В результате использования такого конического участка, известного как «чок-бор», можно точно стрелять дробью и коническими или аналогичными пулями, которые будут приобретать вращение в успешном с точки зрения расстояния и точности выстреле».
Рисунок из патента Фосбери. 1885 год.
«Нитро-парадокс» № 15867 компании H&H. Фото: bonhams.com
Заказчиком первого «парадокса» 20 калибра, изготовленного компанией H&H в 1891 году, был некто Ходгсон. Ружьё в исполнении «Роял» весило 2.9 кг. Следующее с № 11972 было тоже 20 калибра. Бутурлин заказал Мацке «парадокс» в 24 кал. под тонкую латунную гильзу с диаметром гладкой части канала 15,75 мм, а это всё тот же 20-й калибр. Геометрия канала полностью повторяла патент Фосбери. Думаю, причина ошибки не в том, что кто-то хотел присвоить чужие заслуги, а в том, что Бутурлин просто не имел соответствующей информации. Он писал: «Что касается моего парадокса 24 кал., то первая пара стволов была в 1898 г. исполнена по моим расчётам Льежской Мануфактурой из стали завода Дж. Коккериль. Стволы вышли прекрасные по бою, как и вторая пара, исполненная по тем же данным из специальной ствольной стали Круппа.»
Письмо Мацки Бутурлину от 6 мая 1898 года. Из коллекции Ульяновского областного краеведческого музея имени И.А. Гончарова.
6 мая 1898 года Мацка написал Бутурлину: «Милостливый государь Сергей Александрович! Стволы я получил обе пары, цилиндры пришли уже недели три назад, а парадокс теперь, но к сожалению, парадокс высверлили т.о. Камеры под 20 кал. а планку сделали плоскую, у цилиндров же планка с желобком, я ещё до получения вашего письма от 30/IV заказал другие стволы парадокс, вчера был у меня Александр Петрович, и измерял стволы, и обещался Вам об этом написать, — Вы зявляете что лучше было бы иметь Круповские стволы я бы мог эти стволы за собой оставить а от третьих заказанных отказаться, если бы Вы были так любезны и заказали себе стволы сами, но только дело в этом, как же с нарезкой парадокса, в Англии Голланд Голланд никому не позволяет делать этого, я сам не имею приспособление на эту работу, а в Бельгии, ни Франкот и Льежская Мануфактура же не берутся нарезать стволы не или же отделанные. Покорнейше прошу Вас ответить как мне быть отказаться от парадоксовых стволов ? или нет. В совершенном почтении готовый к услугам Ф.Мацка».
Из письма от 27 декабря 1898 года: «Кривизна чоковых стволов есть от (неразборчиво), и я надеюсь их выровнять, не знаю как быть с нарезкой парадокса, если их выслать франкотту, он мне уже раз нарезал, но берёт за это 160 франков, если Вы согласны, то прошу мне сообщить. Планки придётся вероятно в казне унизить, так они сейчас, то должно ружьё очень высить, крюки в казне паяные медью» (пунктуация и орфография сохранены — прим. автора). 4 июня 1900 года Мацка написал Бутурлину, что работа будет закончена в конце месяца.
Письмо Ф.О. Мацки С.А. Бутурлину от 4.06.1900 г. Из коллекции Ульяновского областного краеведческого музея им. И.А. Гончарова. Публикуется впервые
Ружьё имеет 2 пары стволов, одна из которых гладкая. Система запирания конструкции Бутурлина состоит из 3-х частей: тройной рамки, дополнительно прижимающей сверху выступающую за казённый срез часть заднего крюка (такую рамку придумала компания Верней Каррон), продольного (не путать с поперечным) болта Гринера, заходящего в отверстие на казённом срезе между патронниками ниже выступа прицельной планки (британский патент № 2231 от 1863 года), и петли, которая представляет собой продолжение прицельной планки. Такое избыточное запирание, имеющее 5 (!) скреплений, скорее всего, есть результат неверного понимания процессов, происходящих в узлах скрепления в момент выстрела.
Рисунок С.А. Бутурлина. Из коллекции Ульяновского областного краеведческого музея им. И.А. Гончарова. Публикуется впервые.
Запирание Бутурлина: 1,2,3 — точки скрепления тройной рамкой (внизу справа), 4 — продольный болт Гринера, 5 — «петля».
Почему Мацка, хорошо понимавший все эти вопросы, не отговорил Сергея Александровича? Вероятно, из-за его авторитета, тем более, что заказывая свой парадокс, Бутурлин расписал конструкцию с точностью до миллиметра. Как бы там ни было, в мире не существует другого ружья с такой же системой запирания. В этом смысле «парадокс» Бутурлина действительно уникален. В 1935 году С.А. Бутурлин писал Е.С. Гуревичу: «Однако, мой покойный друг и учитель в 1898 г. уговорил меня поставить на мой парадокс 24 кал. любимый им (Ивашенцовым — прим. автора) нижний ключ Дау…» Нижний рычаг Дау в «парадоксе» Бутурлина, как и во 2-й системе Ивашенцова, используется для запирания и взведения замков. Во втором издании своей книги «Охота и спорт» А.П. Ивашенцов предлагал в качестве альтернативы замкам Скотта (использовались в ружьях Ивашенцова) ложноподкладные «замки Мура и Грэя» (William Moore & Grey, известная в прошлом оружейная компания, к изобретению ложноподкладного замка отношения не имела — прим. автора). На «парадоксе» Бутурлина стоят замки с задним расположением боевой пружины, по расположению «пинов» и их количеству очень похожие на замки Бразье, и, совершенно точно, это не замки Скотта. Таким образом, «парадокс», собранный Мацкой, не является ружьём «системы Ивашенцова», за исключением того, что у него, как и у ружья Ивашенцова, имеется рычаг Дау. «Парадокс» Бутурлина демонстрирует возможности самого Мацки, как оружейного мастера. Пожалуй, ни в одно другое ружьё не было вложено столько его собственного труда, что, кстати, нашло отражение в сроках изготовления парадокса — около двух лет.
В №2 журнала «Наша охота» за 1998 год вышла статья «Малокалиберный парадокс. Миф и реальность». Её написал Николай Леонтьевич Изметинский (1919 — 2001), главный конструктор Ижмеха с 1961 по 1980 год, принимавший участие в испытаниях этого ружья. Статья заслуживает того, чтобы её воспроизвести целиком.
«В 1983 году в отдел оружия Удмуртского республиканского краеведческого музея поступило для экспертной оценки, с целью приобретения, двуствольное бескурковое ружье системы А.П.Ивашенцева (парадокс Бутурлина не является ружьём «системы Ивашенцова — прим. автора), изготовленное в период 1898-1900 г.г. известным петербургским оружейным мастером Ф.О.Мацкой по заказу не менее известного естествоиспытателя, профессора С.А.Бутурлина. Это ружье, помещенное в обтянутый кожей футляр, имевшее порядковый номер 257, было укомплектовано двумя парами стволов, одна из которых имела полностью гладкие каналы, а вторая — в дульной часта нарезку парадокс. В ложементах футляра были уложены ружейные принадлежности, в том числе: пулелейка для парадокса со стержнем; калибровочное кольцо для этих пуль с выходным отверстием диаметром 15,75 мм: гильзы латунные тонкостенные французского производства с обжимным кольцом, предназначенным для обжимки дульца гильзы после снаряжения патрона пулей; пороховая мерка; приспособление для снятия боевых пружин замков; ершики; складной шомпол и другие предметы для ухода за ружьем, требующиеся охотнику во время его эксплуатации. Конструктивно это ружье ничего особенного собою не представляло. Ударные механизмы располагались на боковых досках. Взведение курков и отпирание запирающего механизма производилось с помощью рычага, расположенного под спусковой скобой (ключ Дау). Однако нужно отметить высокое качество изготовления данного экземпляра. Тщательная отделка каждой детали и четкая работа всех механизмов, безусловно, свидетельствовала об изготовлении ружья высококвалифицированным оружейным мастером. Стволы парадокса имели диаметр гладкой части равный 15,75 мм, что соответствует 20-му калибру. В дульной части стволов имелись нарезы длиной 55 мм с заходной частью, равной 20 мм. Глубина нарезов 0,2 мм, шаг нарезов 920 мм. Оставляя в стороне далеко не бесспорные рассуждения профессора С.А.Бутурлина о действительных и мнимых достоинствах парадоксов, мы стремились объективно оценить качественные характеристики исследуемого ружья при стрельбе пулями и дробью. Разумеется, мы помнили известное утверждение Сергея Александровича о том, что: «… Дробью №6 при большой резкости и ровности этот парадокс дает около 140-150 др., что для обычных охот достаточно, а для большинства лесных и предпочтительнее, меткость же пулей и посадистость этого ружьеца такова, что хорошему стрелку не трудно бить из него брошенное в 40-50 арш. яблоко (отзыв испытывавшего его С.К.Лейдекера), а на более далекие дистанции не уступает берданке с экспрессной пулей…» («Стрельба пулей», т.1, С.Петербург, 1913 г., стр. 190). По договоренности с руководством краеведческого музея испытания парадокса выполнялись в «Лаборатории испытаний спортивно-охотничьей техники» (ЛИСОТ) Ижевского Механического завода. Использовались гильзы, пулелейка, высечки и обжимные кольца, приложенные к данному ружью. Особое внимание уделялось качеству снаряжения патронов, для этого применялись: капсюли «Жевело-М»; порох черный ДОП-об, ГОСТ 1028-79. Пороховой заряд имел массу 7,4 г. На него досылались картонная прокладка и войлочный пыж. Для изготовления пуль использовалась входящая в комплект ружья пулелейка. Каждая пуля калибровалась имевшимся в приборе специальным кольцом с выходным отверстием диаметром 15,75 мм. Масса пули равнялась 28,5 г. Удержание пули в гильзе обеспечивалось за счет обжатия тонкого дульца гильзы специальной обжимкой, также входившей в комплект принадлежностей.
Комплект принадлежностей для изготовления пуль «парадокса». Фото: jamesdjulia.com
Перед стрельбой на точность попаданий серией из 5 выстрелов был произведен замер скоростей пуль — V10. В таблице LХШ на странице 189 в книге С.А.Бутурлина приводятся данные скоростей полета пуль из этого же ружья. При пороховом заряде 1 золотник 48 долей мелкого жемчужного черного пороха (или 6,4 гр) им была получена скорость Vо = 438 м/с и V25 = 408 м/с. Таким образом, скорость пуль на середине дистанции V 12,5 = 423 м/с практически совпадает с результатом, полученным нами в Лаборатории испытаний. Сходимость баллистических результатов и незначительный разброс скоростей (менее 5%) дают основания считать результаты исследований вполне достоверными. Стрельба на точность попаданий производилась на дистанциях 50 и 100 метров со стрелковой скамейки, с упора, с открытым прицелом, на котором для уменьшения влияния личной ошибки стрелка на конечный результат был установлен целик. Оценка давалась по трем сериям по пять выстрелов из каждого ствола. С целью более полной оценки точности стрельбы были определены также величины смешения средних точек попаданий (СТП) каждой серии относительно точки прицеливания -контрольной точки (КТ). Полученные результаты приведены в таблице 1.
Практически у каждого образца оружия в результате неточностей и ошибок, допущенных при изготовлении, имеет место несовпадение СТП с КТ, устраняемое операцией «приведения оружия к нормальному бою». В процессе ее за счет регулировки прицельных приспособлений производится совмещение средней точки попаданий с точкой прицеливания (совмещение СТП с КТ). У исследовавшегося нами парадокса Бутурлина регулируемый прицельный приспособлений нет. поэтому устранить этот недостаток было нельзя. В результате отстрела испытуемого ружья обнаружилось, что все отклонения СТП от КТ направлено вправо и вверх. Таким образом, значительно отклонение СТП от КТ и большая величина поперечника рассеивания сразу поставило под сомнение возможность ружья без труда «…бить из него брошенное в 40-50 арш. яблоко…» Попасть в подброшенное на расстоянии 35 м яблоко при такой низкой точности попаданий можно только случайно и если яблоко будет размером с приличный арбуз. После исследования баллистических характеристик ружья С.А.Бутурлина для сравнения были произведены стрельбы на эти же дистанции из ружья Иж-12 12-го калибра со стволами парадокс и из ружья модели «Олень» 32-го калибра Златоустовского завода. Полученные результаты показаны в таблице 2.
Как видим, поперечник рассеивания при стрельбе пулями из ружья Иж-12 со стволами парадокс аналогичен тому, который был получен при стрельбе из ружья С.А.Бутурлина. По кучности стрельбы ружье «Олень» значительно уступает и Иж-12, и ружью Бутурлина. Кроме определения точности стрельбы пулями, из парадокса С.А.Бутурлина, были проведены его испытания на кучность и равномерность осыпи при стрельбе дробью. К сожалению, в своей книге С.А.Бугурлин не приводит сведений о нормах снаряжения и условиях, при которых проводились отстрелы дробью, поэтому, чтобы иметь хоть какую-то базу для сравнительных испытаний, за основу были приняты сведения, имеющиеся в параграфе 23 «Бой парадокса дробью», стр. 176-179 той же книги. Речь идет о стрельбе на расстояние 52 аршина (36,97 м) в круг диаметром 30 дюймов (76,2 см). В настоящее время стандартными условиями испытаний гладкоствольного оружия дробовыми выстрелами являются: дистанция стрельбы 35 м, контрольный круг диаметром 75 см. Как видим, разница не столь существенна, и поэтому ею можно пренебречь, тем более, что испытания не преследовали научные цели, при которых нужно высокая точность при оценке результатов. Сложней оказалось решать вопрос о снаряжении патронов, а от этого во многом могли зависеть конечные результаты. У С.А.Бугурлина не приводятся данные о весовом размере дробового снаряда. Говорится только о количестве дробин, попавших в мишень после выстрела. Еcли принять рекомендуемую массу снаряда как 1/112 от массы ружья, то это будет около 30 г. В 30 граммах содержится 246 дробин №6. Еcли верить цифрам, указанным в книге (140-150 дробин), то это значит, что при стрельбе из стволов с нарезкой парадокс была получена кучность, равная 57-61%. Такая кучность стрельбы сделает честь даже некоторым садочным ружьям. Для парадокса она просто невероятна. Но, чтобы не было сомнений, нам пришлось отказаться от попытки идентифицировать условия и методы испытаний и произвести оценку качества дробового выстрела стрельбой патронами, снаряженными современными компонентами, по современным нормам снаряжения. Патроны для испытаний были сделаны так: гильзы латунные, тонкие (из принадлежностей к ружью); капсюль «Жевело-М»; заряд — порох «Сокол», 1,7 г; снаряд — дробь №5, масса 26 г., число дробин в снаряде 165. Способ снаряжения: на порох плотная картонная прокладка, войлочные пыжи; на дробь тонкая картонная прокладка. Была произведена серия из пяти выстрелов и получен результат, помещенный в таблице 3. Аналогичная стрельба была произведена патронами, снаряженными дробью №3 с результатами, приведенными в таблице 4.
Теперь, располагая достоверными данными о внешнебаллистических характеристиках ружья С.А.Бутурлина, можно дать объективную оценку качеству стрельбы из стволов с нарезкой парадокс пулями и дробью.
Оценка качества стрельбы пулей
В настоящее время отсутствуют официальные, общепризнанные нормативы оценки качества пулевой стрельбы из гладкоствольного охотничьего оружия. Считается, однако, что для успешной охоты и надежного поражения крупной дичи поперечник рассеивания не должен превышать 100 мм на дистанции 50 м (М.М.Блюм, И.Б.Шишкин, «Охотничье ружье», М., Лесная промышленность, 1983 г., стр. 167). Авторы упомянутой книги предлагают следующим образом оценивать качество пулевого выстрела из гладкоствольного оружия: при поперечнике рассеивания 100 мм — оценка «отлично»; при поперечнике 150 мм — «хорошо»; при поперечнике 200 мм — «удовлетворительно». Исходя из предложенного варианта оценок качества пулевой стрельбы, результат, показанный при стрельбе из стволов парадокс, можно оценить как хороший. Давая такую оценку качеству пулевой стрельбы из стволов парадокс ружья профессор С.А Бутурлина, следует иметь в виду, что современные охотники располагают пулей, предназначенной для стрельбы из гладкоствольного ружья, обеспечивающей более точную стрельбу, чем из парадокса, без ухудшения качества дробового выстрела. Имеется в виду пуля В.Полева, которая во время испытаний в ЛИСООТ в том же 1983 году показала значительно лучшие результаты.
Оценка качества стрельбы дробью
К дробовым охотничьим ружьям, имеющим в дульной части ствола небольшой участок канала с нарезами, следует относиться именно как к парадоксальным (от греческого слова раradoxos — необыкновенный, странный). Утверждение же С.А.Бутурлина о том, что: «…короткая нарезная часть не успевает придать вращения дробовому снаряду, тем более, что большая часть дробин проскальзывает по дну широких нарезов или по поверхности широких полей, не касаясь граней. Поэтому парадоксы и мелкой, и крупной дробью по резкости и кучности боя и качеству осыпи не уступают очень хорошим чокам, удовлетворяя самым строгим охотничьим и садочным требованиям» (Стрельба пулей, гл. IV, стр. 175), не соответствует действительности. Чтобы убедиться в этом, обратимся к кривой скорости движения дробового снаряда в канале ствола, по которой видно, что в дульной части ствола скорость снаряда продолжает возрастать, то есть на снаряд действует ускорение, создающее в нем перегрузку, приводящую к уплотнению дробового снаряда. Войдя в нарезы, снаряд с плотной (почти монолитной) структурой приобретает вращательный импульс и, покинув пределы ствола, под действием центробежных сил интенсивно разлетается в стороны. Этим и объясняется низкая кучность дробового выстрела из парадокса. При пулевом выстреле значительное влияние на точность и кучность стрельбы оказывает способ снаряжения патронов. Пуля для парадокса снаряжается в гильзу патрона с прокладками и пыжами, чтобы обеспечить надежную обтюрацию заснарядного пространства с целью недопущения прорыва пороховых газов между телом пули и стенками канала ствола во время выстрела. В момент вылета из канала, в период последействия пороховых газов, вслед за пулей с большой скоростью вылетают пыжи и прокладки, которые наносят по заднему торцу пули беспорядочный по силе и направлению удар, нарушая ее положение в пространстве и создавая предпосылки для отклонения от баллистической траектории под действием боковых аэродинамических сил. Кстати, высокая точность стрельбы пулями В.Полева во многом объясняется тем, что обтюрация заснарядного пространства обеспечивается пластмассовым пыжом с обтюрирующей юбкой. В предварительный период выстрела этот пыж, в результате пластической деформации свинцового тела пули, под воздействием колоссальной перегрузки образует с пулей неразъемное соединение. Так как войлочные пыжи и прокладки отсутствуют, то пуля, покидая дульный срез, не подвергается посторонним воздействиям, нарушающим ее полет по баллистической траектории. В соответствии с Федеральным законом, «Законом об оружии РФ», вступившим в силу с 1 июля 1997 года, к гладкоствольному охотничьему оружию отнесено оружие, имеющее стволы не менее 500 мм длины, в каналах которого могут быть нарезы на длине не более 140 мм от дульного среза. Таким образом, стволы, имеющие нарезы типа парадокс, официально отнесены к гладкоствольному охотничьему оружию. По имеющимся у меня данным, предполагается в технические требования для ружей со стволами парадокс ввести требования к точности стрельбы пулями на дистанции 100 м: поперечник рассеивания не более 200 мм, а кучность стрельбы дробью на дистанции 25 м не должна быть ниже 40%. Трудно сказать, в какой степени ружье с таким баллистическими характеристиками удовлетворит серьезных охотников, если, используя пули В.Полева, из нормального, а не «странного» ствола обеспечивается кучность стрельбы пулями не хуже, чем из парадокса. И все это при сохранении высокой кучности стрельбы дробью на стандартной дистанции 35 м. Кроме того, охотничье ружье со стволами парадокс будет стоить дороже обычного и потребует дополнительных затрат при эксплуатации вследствие необходимости изготовления специальных пуль со своими размерами для каждого ствола, чтобы обеспечить оптимальный натяг при движении в канале. Все это ставит под серьезные сомнения целесообразность организации производства охотничьих ружей со стволами парадокс ввиду значительного ухудшения качества дробового выстрела и явно — без улучшения точности стрельбы пулями».
Письмо Н.Л. Изметинского Ю.А. Маслову от 4.11.1996 г. Публикуется впервые.
В переписке с Ю.А. Масловым Николай Леонтьевич написал: «…могу сказать, что можно, конечно, получить из «парадокса» приличную серию выстрелов, но для этого нужно подобрать именно для этого ствола точные размеры пули и вообще всех остальных компонентов снаряжения, и каждый раз строго их соблюдать именно для этого ствола. Для другого ствола эта пуля уже не годится. Точнее, — для выстрела то годится, но результат будет другим. Следовательно если завод будет выпускать ружья со стволами «парадокс», то он должен к каждому ружью, к каждому его стволу приложить полулейку, обеспечивающую изготовление пуль в строгом соответствии с размерами тех пуль, которыми обеспечивались показатели точности стрельбы, полученные во время приемо-сдаточных испытаний на заводе. В противном случае охотник, стреляя другими, в том числе и покупными пулями, не получит удовлетворительный результат. Мацка то не случайно прикладывал пулелейку. Но это было сделано одно ружье для Бутурлина, а завод-то будет делать их сотни или тысячи. Так что это будет за производство? Не производство, а кошмар какой-то !» Относительно «феноменального» боя парадокса Бутурлина, «клавшего лосей на 300 метров» Изметинский высказался вполне определённо: «В общем, у меня сложилось мнение, при всем уважении к г-ну Бутурлину, что это был обычный профессорский трёп».
1923 год. С.А. Бутурлин (третий справа) со своим парадоксом на охоте. Снимок предоставлен Ульяновским областным краеведческим музеем им. И.А. Гончарова.
«Парадокс» Мацки № 257 в 1983 году был приобретён у Александра Сергеевича, сына Сергея Александровича Бутурлина, за весьма солидную сумму (по воспоминаниям Изметинского, сопоставимую со стоимостью новых «Жигулей»). Сегодня он находится в коллекции Национального музея Удмурдской Республики им. Кузебая Герда (бывший Удмуртский республиканский краеведческий музей). С этим ружьём, который так хвалили современники, владелец решил, тем не менее, расстаться. В 1908 году в журнале «Наша Охота» №12 на странице 140 вышло следующее объявление:«Бескурковка Ф.О. Мацка. Оригинальной системы, две пары стволов спец. Круппа, цилиндры и парадоксы, 24 кал. 8 1/3 фунт., вместо 600 за 500 руб. с ящиком и принадлежностями. Писать: г. Везенберг, Эстляндской губ. С.А. Бутурлину». Ружьё с «феноменальным» боем его хозяин продавал со скидкой в 100 руб., но….так и не продал, ни в 1908 году, ни позднее. Вероятно, не нашлось желающих, несмотря на авторитет Бутурлина и «промоушн» в охотничьих изданиях.
Пуля «парадокса» (справа) и инструкция (слева): «ВАЖНО. Инcтрукции по заряжанию ружья «Парадокс» пулей. 3 драма пороха №6 и пуля «Express» до 100 ярдов или около того. Обычная прокладка и войлочные пыжи должны быть помещены поверх пороха. Пули должны быть очень тщательно отлиты из твёрдого свинца, а именно 1 часть олова на 15 частей свинца, и должны быть пропущены через калибр перед использованием, чтобы обеспечить их надлежащий размер. Пули требуют очень небольшого смазывания, их следует лишь слегка смазать смазкой. Зафиксируйте их в гильзе, обжав гильзу в каннелюре пули с помощью инструмента с надписью «fixer».
Ну, а что «конкуренты» из Н&H? За 37 лет с 1891 по 1928 год было выпущено всего лишь 27 «парадоксов» 20-го калибра, что, прежде всего, говорит об отсутствии спроса на такие ружья. Авторы известной книги о «парадоксах» Дэвид Бейкер и Роджер Лейк нашли только один отзыв владельца: «Мне удалось немного поспать в течение ночи, а утром мы попытались найти подстреленного медведя, но не нашли каких-либо следов. Я использовал в то время «парадокс» 20-го калибра и нашёл очень веские основания полагать впоследствии, что у него не было ничего похожего на убойную силу моего бывшего «парадокса» 12-го калибра — слишком много раненых медведей уходило». Замечу, речь шла об охоте на Цейлоне, предметом которой был небольшой медведь-губач. Сверловка Фосбери применялась в тяжёлых дымных курковых и бескурковых штуцерах от 8-го до 12-го калибра, «нитро-магнумах» и «нитро-экспрессах». Лучшие результаты по дальнобойности (но не по «дальноубойности») были показаны на испытаниях, проведённых 11 ноября 1905 года журналом «The Field». Из восьми выпущенных пуль семь пришли в мишень 15.24 х 17.78 см, установленную на 300 ярдах (273 метра).
Новая пуля H&H для «парадоксов».
Результаты стрельбы на 100 и 200 ярдов тоже впечатляли. Сама фирма H&H в рекламе написала: «… стрельба на большие расстояния может производиться из «парадокса» с использованием подходящих для него боеприпасов. Holland & Holland полагают, что, кроме как в исключительных условиях, «парадокс» не является подходящим оружием для стрельбы за 150 ярдов в галерее или за 200 ярдов на открытом воздухе». Замечания Н.Л. Изметинского по поводу точности изготовления пуль (см. выше) и их согласования с геометрией канала абсолютно верные, но он не учёл ещё одно обстоятельство. H&H постоянно вели работу по улучшению характеристик своих ружей, экспериментируя с различными пулями. Великолепные результаты, показанные на испытаниях 1905 года, были получены с помощью новой пули массой 26-27 гран, имевшей пустотелый алюминиевый наконечник, соединённый со свинцовым донцем. Пулелейкой из набора Мацки воспроизвести такую пулю было невозможно.
«Парадоксы» 20 кал. компаний Simson (слева) и Westley Richards.
Подведём итоги. Уже после Первой мировой войны никаких иллюзий относительно «парадоксов» не было. В 1933 году компания H&H выпустила последние 2 ружья из 49, произведённых после 1914 года. Всего с 1885 года ею было собрано 1479 ружей со сверловкой «райфл-чок». Замечу, что «парадоксы» 20 калибра выпустили многие уважаемые фирмы, например, Westley Richards, Simson, William Evans и др., но такие ружья существуют в единичных экземплярах. Испытания, проведённые в Ижевске в 1983 году и описанные Н.Л. Изметинским, подтвердили лишь то, что было давным-давно известно европейским производителям охотничьего оружия. Хотя Фосбери изобрёл «парадокс» именно как пульно-дробовое ружьё, уверенная стрельба дробью из него возможна лишь накоротке, в чём я сам убедился, пристреливая «Эксплору» компании Вестли Ричардс. Что касается подъёмных целиков с градуировкой до 300 (!) ярдов, смонтированных на некоторых ружьях этой компании с нарезными чоками и используемых в качестве аргумента защитниками «парадокса», могу сказать следующее: в этом нет никакого практического смысла, что подтвердит всякий, кто стрелял из ружья с горизонтально спаренными стволами и открытым прицелом хотя бы на 100 метров.
Благодарю Юрия Анатольевича Маслова и Дмитрия Валерьяновича Житенёва (1934 — 2021) за помощь в подготовке этой статьи.


















